Универсальная арматура для бачка инкоэр (72 фото)
Арматура Инкоэр Нижний подвод 1/2"
Инкоэр арматура (и-СБА-БПРН-А-В) бок./подвод, шток, метал. D40
Инкоэр арматура универсальная кноп.бок.бел 1/2 СБКПМ-БМ-Б-В
Арматура "сб1" Инкоэр
Клапан поплавковый мембранный БМ
Клапан для унитаза Нижний подвод. D40 (и-НПРНРФ) Инкоэр (№2)
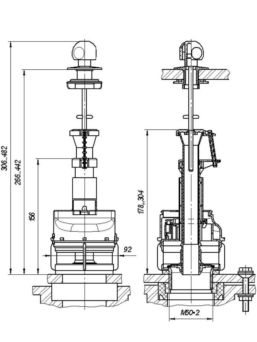
Арматура ниж/подв, хром шток. Инкоэр (СБА-НПРНРФ-А-В Р) 1-3-2-4
Арматура универсальная с нижним подводом WC аб-63.3

Сливной клапан Инкоэр
Арматура для бачка Сантек Бриз
Универсальный спускной клапан для бачка Инкоэр ин 1-режим слива ИС.131045
Арматура "сб1" Инкоэр
Арматура "сб1" Инкоэр
Инкоэр сб2 клапан слива
Арматура Инкоэр 1а

Универсальная арматура для бачка инкоэр (72 фото)

Универсальная арматура для бачка РБМ АС-1 боковая подводка ИС.130622
Клапан спускной Инкоэр СБА 1
Клапан впускной боковой подвод (1/75) "Инкоэр" БПРН Р
Клапан сливной кнопочный 1 режим Инкоэр
Клапан выпуска кноп хром

Клапан впускной (Инкоэр) БПРН Р (0-2-0-0)
Универсальная арматура для бачка Инкоэр боковая подводка ИС.131033
Сливная арматура Инкоэр
Унитаз-биде два в одном
Арматура Инкоэр для унитаза нижняя подводка
Универсальная арматура для бачка Инкоэр боковая подводка ИС.131033
Арматура для бачка Инкоэр сб2-БПД-АА-В-С
Арматура Инкоэр 2 кнопочная
Арматура Инкоэр 1а
Сливной клапан Инкоэр
Инкоэр арматура для унитаза
Арматура спускная сб 2
Инкоэр арматура для бачка инсталляции
Sanart Neptun сливная арматура

Арматура Инкоэр 2 кнопочная
Арматура для сливного бачка WC аб-63.3
Арматура д/бачка шток, бок. Подвод Инкоэр (и-СБА-БМ-А-В)
Сливная арматура Инкоэр
Комплект арматуры Инкоэр ИС.131040 двухрежимная нижняя
Арматура сб1 сб2 НПРН
Комплект арматуры Инкоэр ИС.131040 двухрежимная нижняя

Сливная арматура Инкоэр
Арматура Инкоэр универсальная хр/шток (СБА-БМ-Б-В)
Арматура Инкоэр 2 кнопочная

Комплект арматуры Инкоэр ИС.131040 двухрежимная нижняя

Механизм слива: штоковый с функцией 'стоп поток'
Инкоэр сб2 клапан слива
Арматура Инкоэр боковой подвод 1/2
Инкоэр сливной механизм
Комплект арматуры Инкоэр ИС.131040 двухрежимная нижняя
Поплавок Инкоэр длинный шток
Похожие фото
↑