Водовыпуск шандорного типа (57 фото)
Автоматический водовыпуск
Шпунтовое ограждение котлована Ларсена
Саяно-Шушенская ГЭС водосброс
Шандорные кольца
Монах плотина водосброс
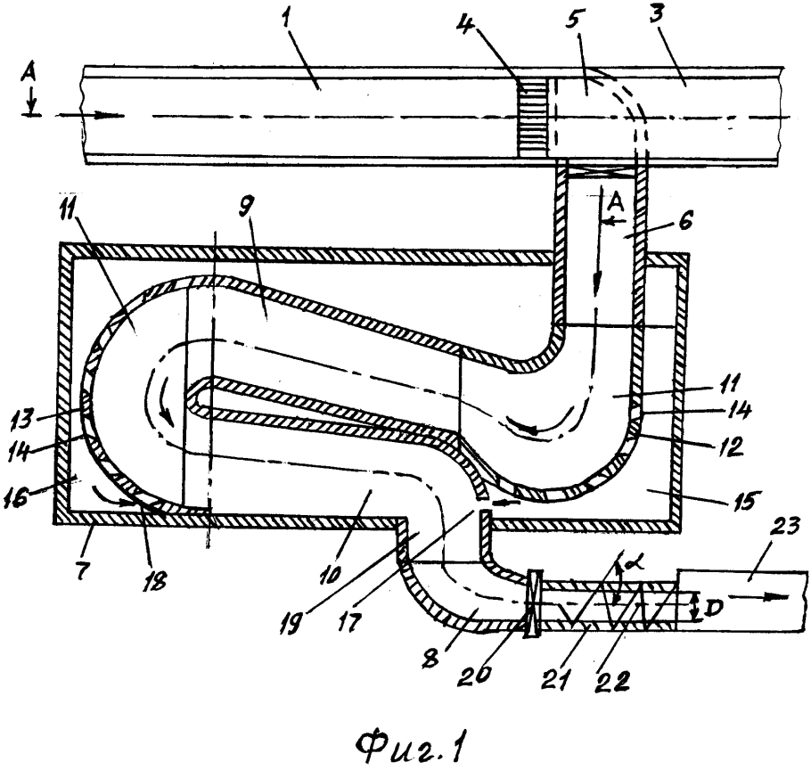
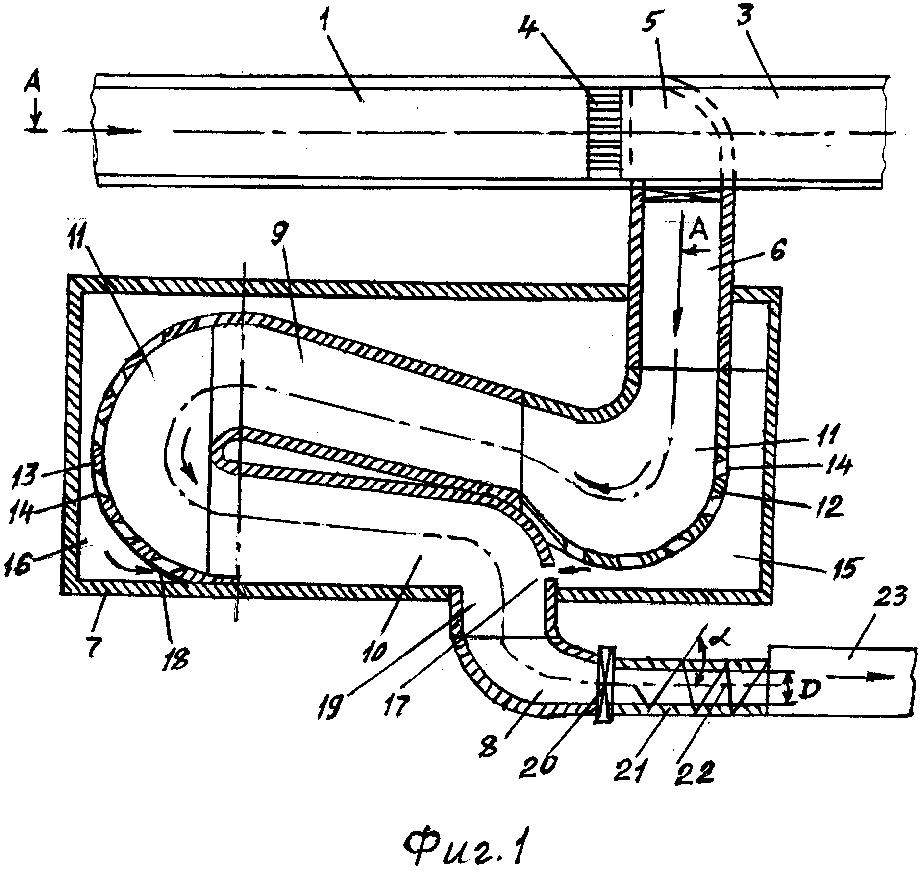
Устройство водовыпуска
Водовыпуск (водоспуск)
Строительство завода в Африке
Щитовой затвор dn1000
Как обозначается водовыпуск
Устройство водовыпуска
Шахтный водосбросной колодец
Шандорный колодец
Сифонный водовыпуск принцип работы
Затвор зн-600 для КНС
Мелиоративные системы и сооружения
5 Водовыпуск воп-3
Водовыпуск тепловой сети
Шандорные колодцы это

Водовыпуск шандорного типа (57 фото)
Водовыпуски трубах
Портальная стенка ст10
Щитовой затвор шлюз
Колодцы шандорного типа
Донный водовыпуск
Шандор ГЭС
Затвор щитовой Ду 1200
Щитовой затвор dn1000
Шандорные затворы гидротехнических сооружений
Водовыпуск трубопровод
Водовыпуск трубчатый
Щитовой затвор
Шлюзы водосброса на плотине
Шахтный водосбросной колодец
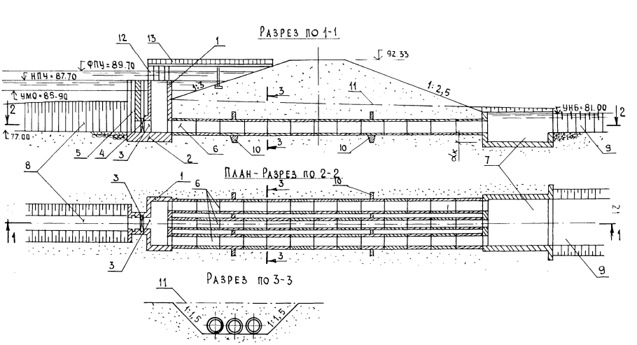
Шахтный водосброс чертеж
Шандорные затворы гидротехнических сооружений
Затвор щитовой Vokker fr-4r-p1-NK
Похожие фото
↑