Ящик комода туго (71 фото)
Комод лайн-3 чертеж
Икеа комод БРИМНЭС белый 3 ящика
Комод Victor сонома/белый
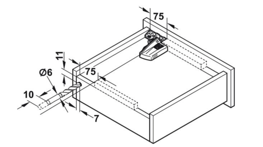
Крепление дна выдвижного ящика
Выдвижной ящик для драгоценностей
Malm МАЛЬМ комод с 4 ящиками, белый80x100 см
Починить ящики комода
Струбцина Rockler
Починить ящики комода
Дно ящика комода
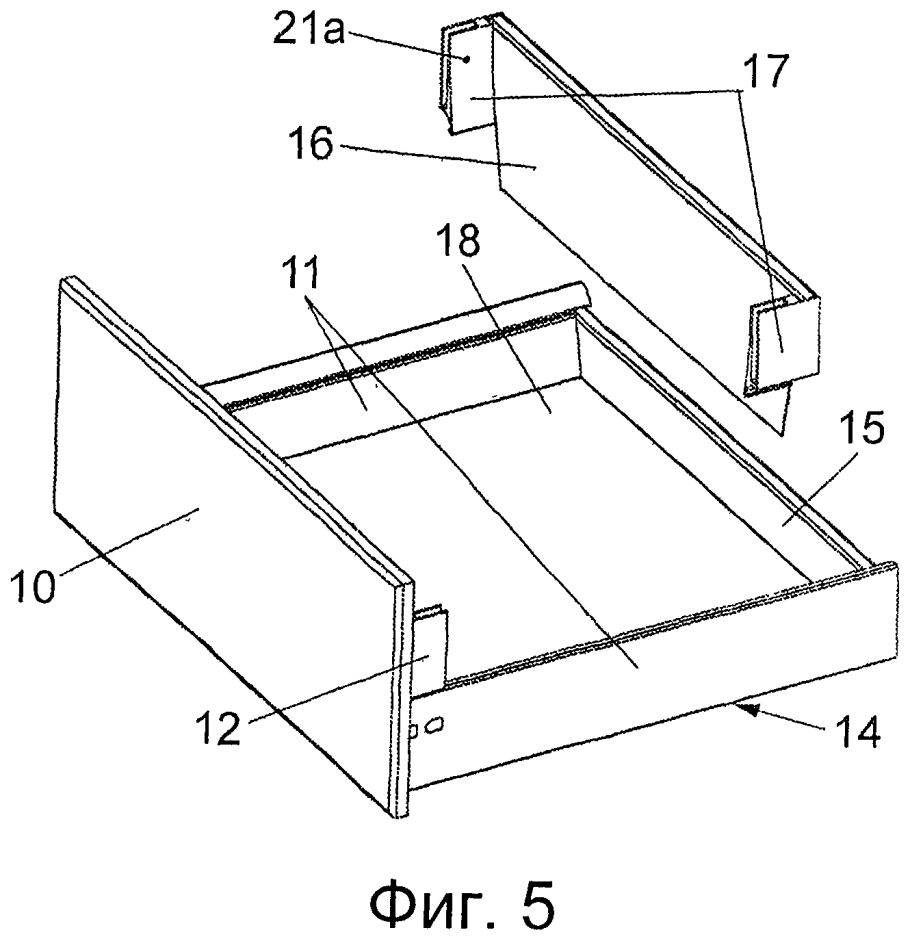
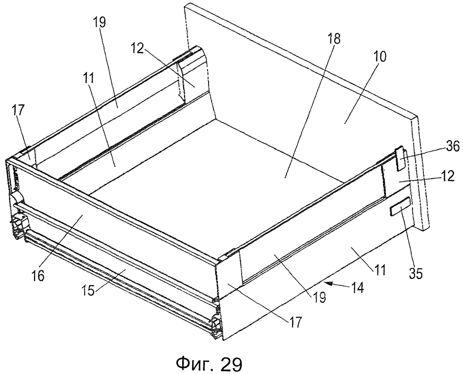
Шуфлядка на русском языке
Направляющие для ящиков под кроватью
Сломанная тумбочка
Hemnes ХЕМНЭС комод с 3 ящиками, белая морилка108x96 см
Шариковые направляющие для выдвижных ящиков Хеттих
Ящик Блюм из ЛДСП
Аквариум на комоде раст
Моон тумбы прикроватные
МАЗ средний ящик выдвижной

Шариковые направляющие для ящиков 230мм
Ящик на деревянных направляющих
Крепление кухонных ручек
Прикроватная тумба Малибу
Ящик Квадро Хеттих
Зазор между вкладными фасадами выдвижных ящиков
Комод из Икеи Размеры
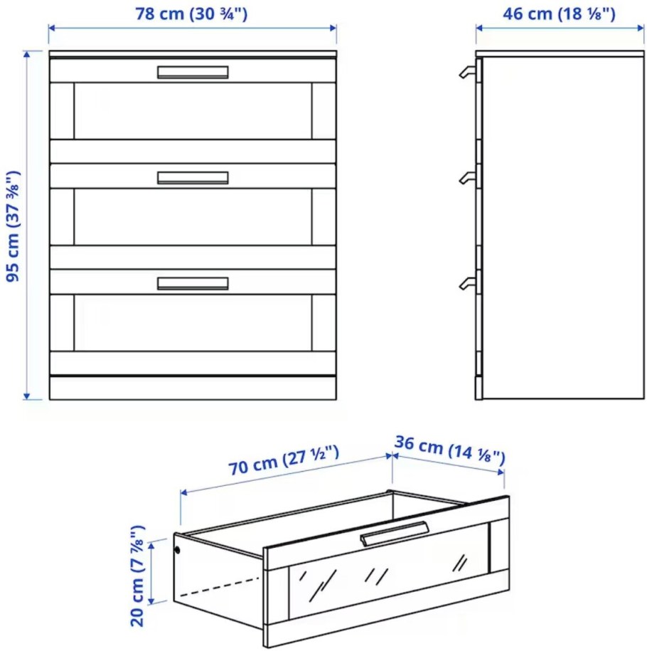
Комод 3 ящика 68.5x80x39.4
Направляющие для выдвижных ящиков pk-0h17310xp
Ящик комода провалился
Комод Cilek Black Pirate
Починить ящики комода
Ящик из ДСП
Материал для дна ящика комода
Шариковые направляющие ka1730
Ящик выдвижной Hoff Оскар
Потайной ящик в ящике
Сборка ящиков для комода
Открытие ящиков
Детский комод Cilek Pirate
Комод раст Размеры
Направляющие для выдвижных ящиков в ПАЗ
Усилитель для ящика комода
Выдвижной ящик 2107
Письменный стол с ящиками своими руками
Выдвижные ящики Hettich Innotech atira
Блокиратор для выдвижных ящиков
Внутренний ящик за распашным фасадом
Ящик из фанеры 50х50
Комод из ящиков
Лоток вкладыш пластиковый для ящика комода
Направляющие Tandem 500мм Blum присадка
Как снять кухонные ящики
Дно ящика комода
Демонтаж ящиков с телескопическими направляющими
Органайзер для украшений в ящик комода
Направляющие ПВШ С доводчиком
Выдвижные ящики со стеклом
Снятие ящика с телескопических направляющих
Икеа СКОНЕВИК

Блокировка для выдвижных ящиков универсальная cl71/2 Clippasafe белый
Замок для направляющих Tandem Blum
Шкаф с выдвижными ящиками
Похожие фото
↑