Лущенный шпон (73 фото)
СВЕЗА лущильный станок
Строганный шпон
Лесоматериал для изготовления шпона
Тонкий шпон дерева для поделок
Лущеный шпон фанера
Технология фанерования шпоном МДФ
Шпон лущеный березовый
Натуральный шпон
Натуральный шпон
Текстура кедр слэб
Лущеный шпон березы
Шпон берёзовый лущеный 1.5
Шпонированный МДФ Фанерованный MDF
Поддоны под шпон лущеный размером 2600 мм
Шпон Файн лайн

Просевший ламинат

Лущенный шпон (73 фото)
Укладка шпона
Сырой шпон
Шпон дуба 13011
Шпони
Шпон для мебели
Шпон ценных пород дерева
Цех лущения шпона
Шпон берёзовый лущеный 1.5
Шпон лущеный березовый
Фанерование шпоном Файн-лайн МДФ
Апшеронск шпон Барус
Шпон натуральный Макоре (997)
Лист шпона
Лущение фанерного шпона
Лущеный шпон дуба
Лущильный станок Raute
Строганный и лущеный шпон
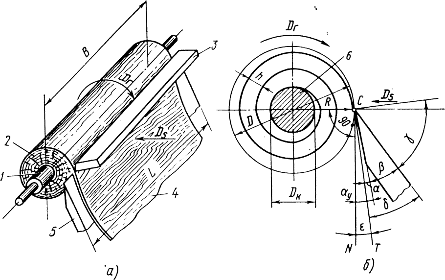
Лущильный станок для производства шпона чертёж
Ардатовский фанерный завод
Шпон вишня 0,6 мм (американская)
Лущильный станок Лу-5
Лущеный шпон дуба
Линия лущения шпона «Raute
Шпон берёзовый лущеный 1.5
Лущение Чураков на шпон
Шпон берёзовый лущеный 1.5
Верхняя Тавда лесоперерабатывающий комбинат
Раскладка цветов шпона
Где купить шпон для моделирования
Лущеный шпон
Строганный и лущеный шпон
Шпон Macassar
Шпон лущеный березовый
Карельская береза лущёный шпон
Производство шпона
Лущеный и строганый шпон
Ясень крепче акации

Шпон натурального дерева
Шпон берёзовый лущеный 1.5
Натуральный лущеный шпон
Шпонирование фанеры технология
Шпон Фанлайн тангенцальный срез
Лущеный шпон березы
Фанера для технологии
Лущеный шпон березы
Лущеный шпон ясеня
Лущеный шпон кедра
Пиленый шпон 10мм
Похожие фото
↑