Подъемно складные ворота в гараж своими руками (79 фото)
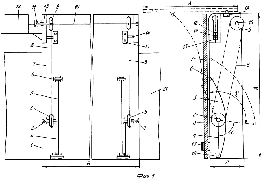
Подъемные гаражные ворота своими руками чертежи схемы
Складные ворота для гаража
Подъемно складные ворота для гаража
Складные распашные ворота гармошка чертежи
Складные гаражные ворота подъемные своими руками чертежи
Складные гаражные ворота
Складывающиеся ворота для гаража
Откидные ворота для гаража
Подъемные секционные ворота гармошкой
Складные ворота для гаража своими руками подъемные чертежи
Ворота подъемно-поворотные е900 DIY
Пружинный амортизатор для откатных ворот
Поворотно откидные ворота
Подъемно-поворотные гаражные ворота чертеж
Складные гаражные ворота
Гаражные ворота подъемные своими руками чертежи
Подъёмно-поворотные ворота Арктика
Подъемно поворотные ворота z система
Складные ворота для гаража
Подъемно поворотные ворота z система противовес
Ворота для гаража подъемные своими руками чертежи самодельные
Гаражные ворота подъемные чертежи
Normstahl ворота механические подъемно-поворотные
Ворота подъемно-поворотные с калиткой 3300 на 3600
Подъёмно-поворотные ворота Арктика
Подъемно поворотные ворота z система противовес
Поворотные ворота для гаража
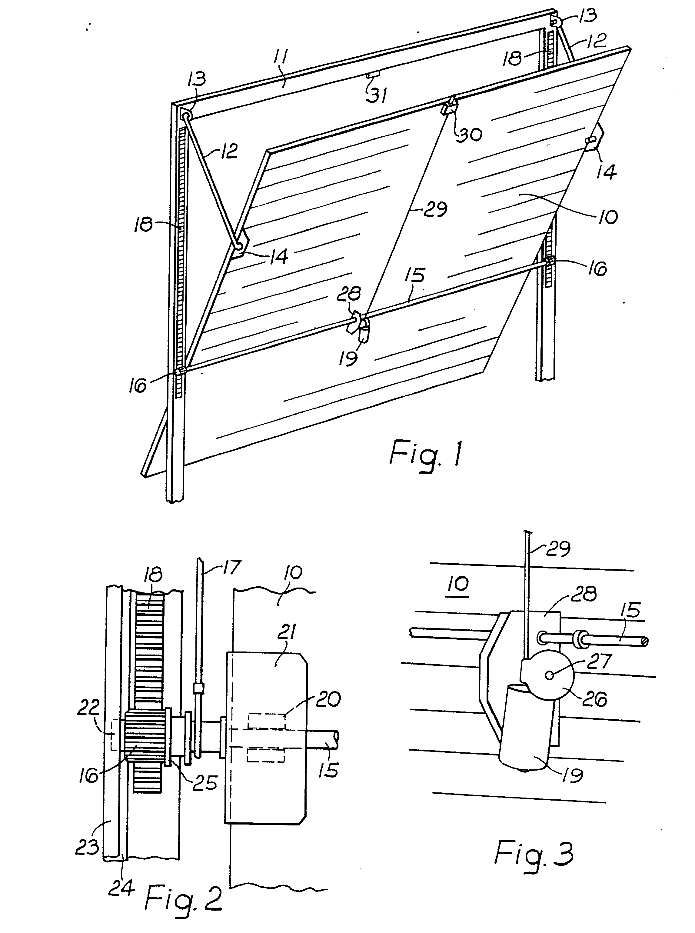
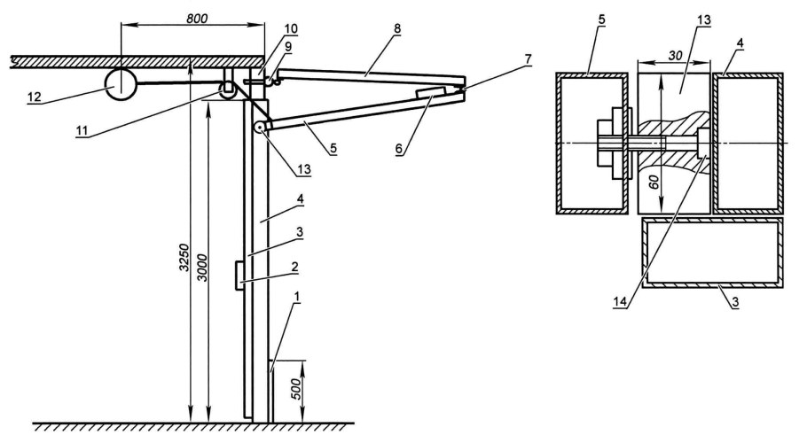
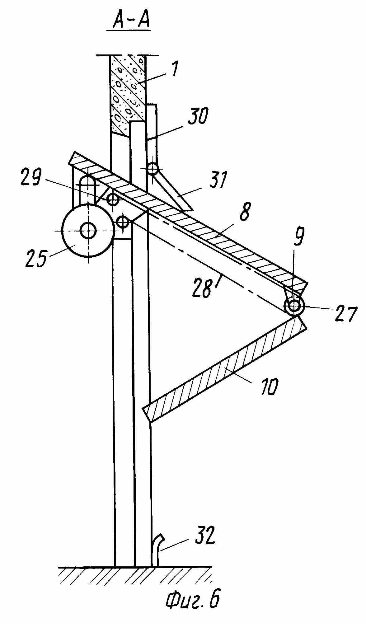
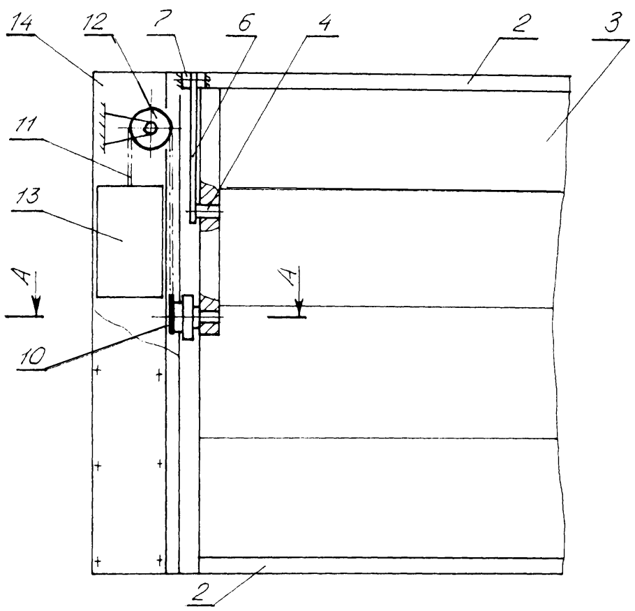
Чертежи подъёмных гаражных ворот
Ворота подъемные секционные конструкция чертеж
Ворота для гаража подъемные самодельные чертеж
Подъемно поворотные ворота для гаража Дорхан
Самодельные подъемные ворота
Противовес для подъемных ворот через блок
Ворота подъемные секционные чертеж
Подъёмно-поворотные ворота Hormann 500
Ворота для гаража подъемные z система
Подъемно-поворотные ворота Berry монтаж
Подъемно поворотные ворота z система противовес
Складные ворота для гаража своими руками подъемные чертежи

Чертежи подъемно- поворотных ворот z системы
Подъемно-поворотные гаражные ворота чертеж

Противовес для гаражных ворот
Поворотно откидные ворота
Складные гаражные ворота подъемные своими руками чертежи
Подъёмно-поворотные ворота z-система чертежи
Чертежи подъёмных гаражных ворот
Подъемно откидные ворота Somfy
Normstahl ворота механические подъемно-поворотные
Ворота подъемно-поворотные е900 DIY
Подъёмные ворота для гаража
Ворота подъемно поворотные DOORHAN
Подъёмные поворотные ворота бразильская система
Подъёмные секционные ворота для гаража своими руками чертежи
Складные гаражные ворота гармошка
Подъемный механизм для ворот
Подъемно откидные ворота электропривод came
Складные ворота для гаража
Подъемно-поворотные ворота на 4 рычагах
Ворота подъемно-поворотные е900 DIY
Ворота подъемно-поворотные е900 DIY
Ворота подъемные секционные чертеж
Подъемные складные ворота
Гаражные ворота подъемные своими руками чертежи как сделать
Гаражные ворота подъемные чертежи
Подъёмно-поворотные ворота для гаража
Самодельные подъемные ворота
Складные ворота Дорхан
Ворота в гараже поворотно-подъемные
Ворота секционные подъемные ту РБ 101452725.002-2000
Подъемно-поворотные ворота на 4 рычагах
Распашные складные ворота своими руками чертежи схемы

Подъемно складные ворота в гараж своими руками (79 фото)
Похожие фото
↑