Пресс гидравлический ручной своими руками чертежи (54 фото)
Ковочный пресс гидравлический чертеж
Насос ручной МР-700 схема гидравлическая
Чертеж гидравлического листогиба
Штемпельные прессы для брикетирования бурых и каменных углей
Маслопресс ПМ 450 чертеж
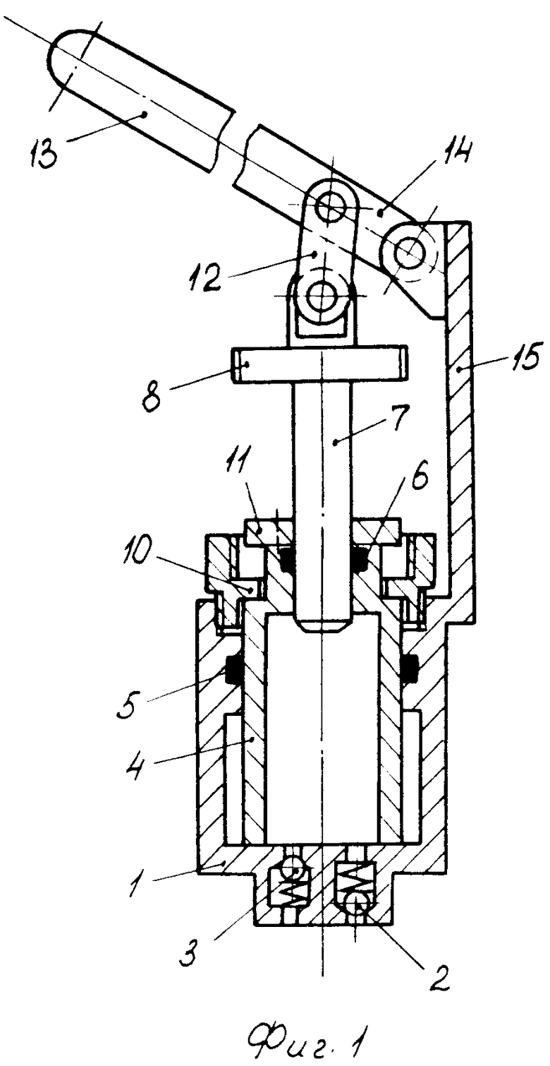
Фаворит 32 гидравлический пресс чертеж
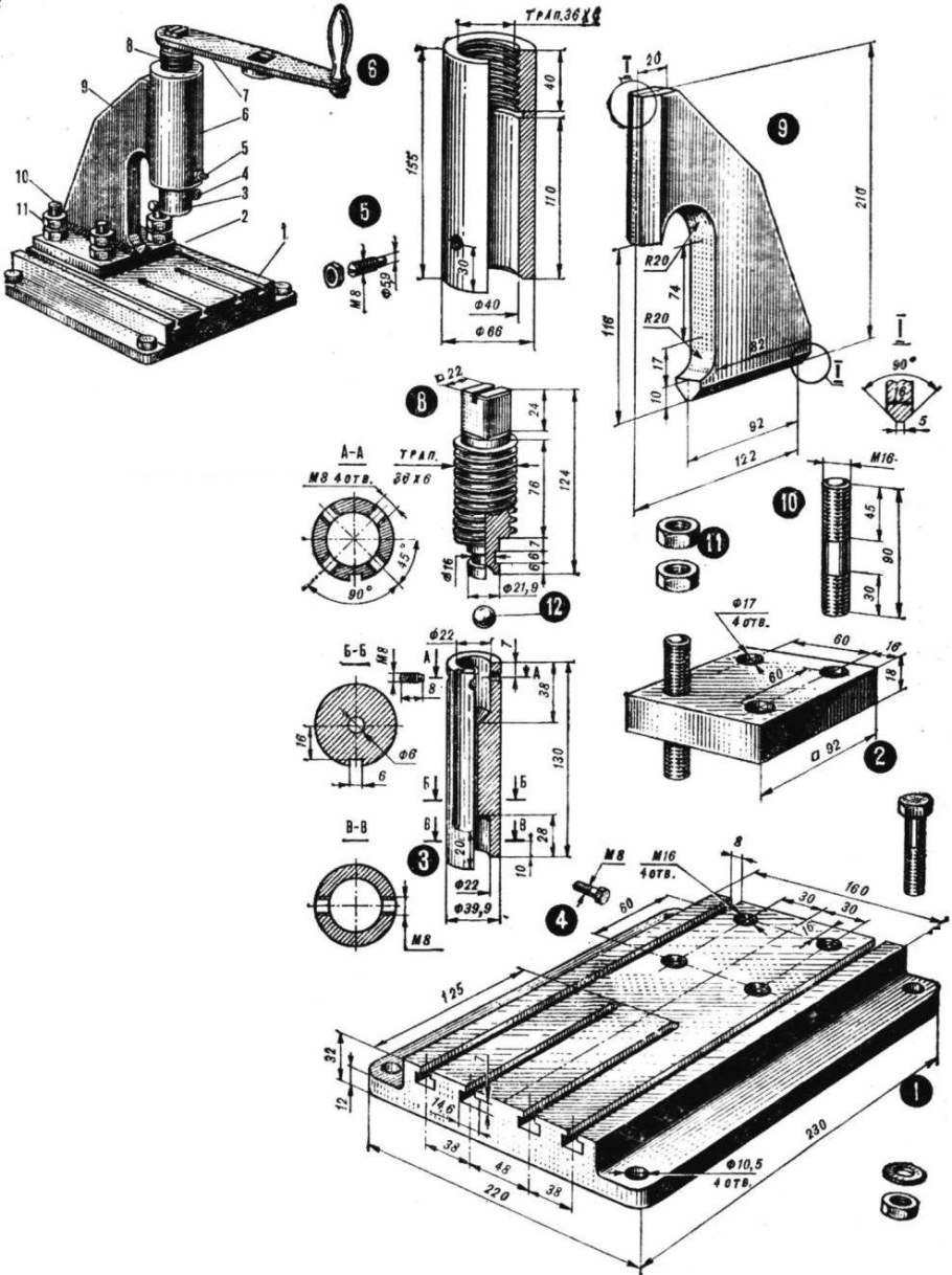
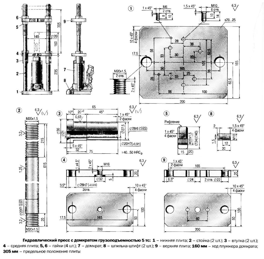
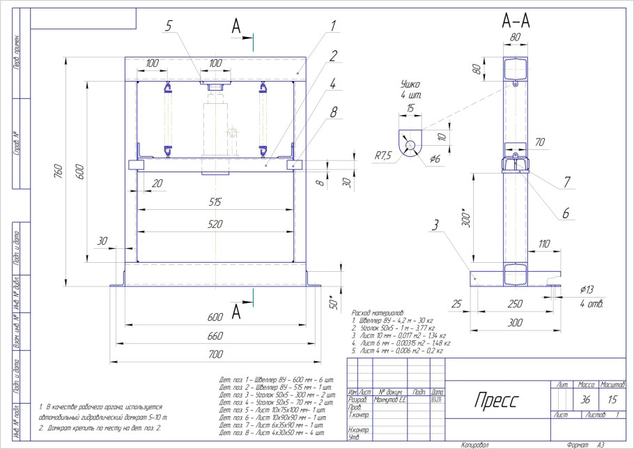
Чертеж пресса гидравлического из домкрата своими руками
Ковочный пресс гидравлический чертеж
Пресс гидравлический NORDBERG n3620fl, напольный
Ручной реечный пресс Optimum DDP 10

Пресс гидравлический 80 т своими руками чертежи
Пресс гидравлический конструкция клапана
Пресс гидравлический Окс-1671м схема электрическая
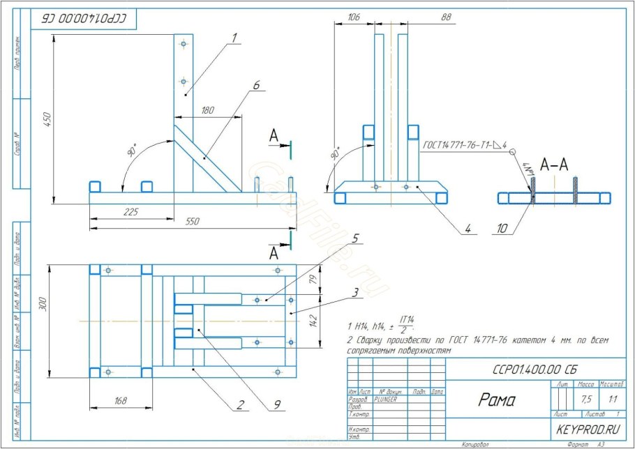
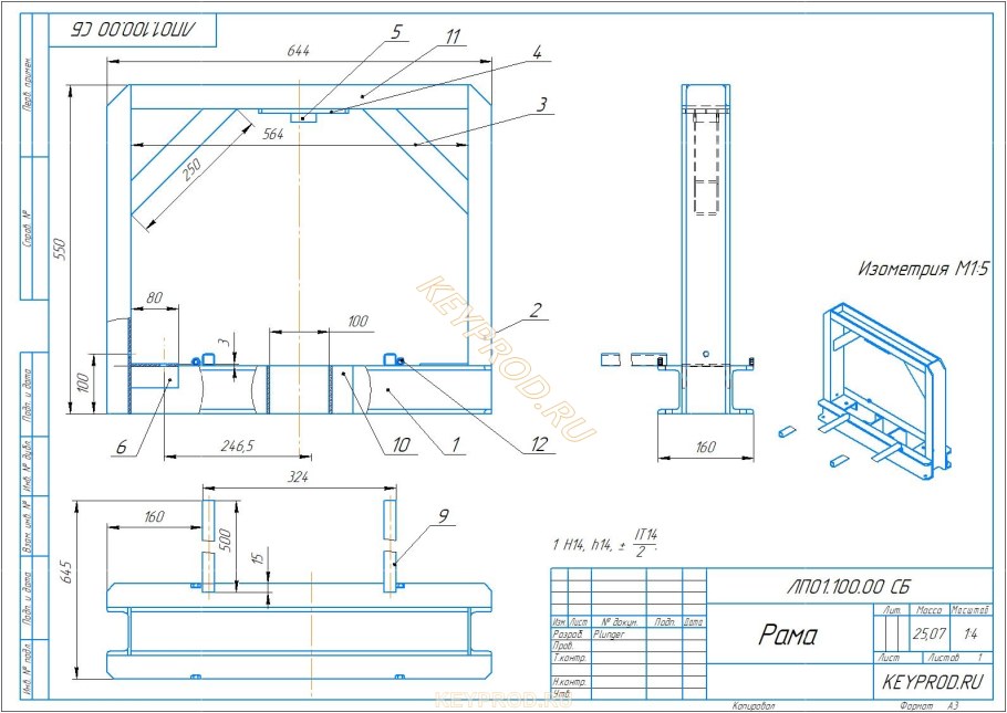
Гибочный стенд ручной KEYPROD угс01 чертежи
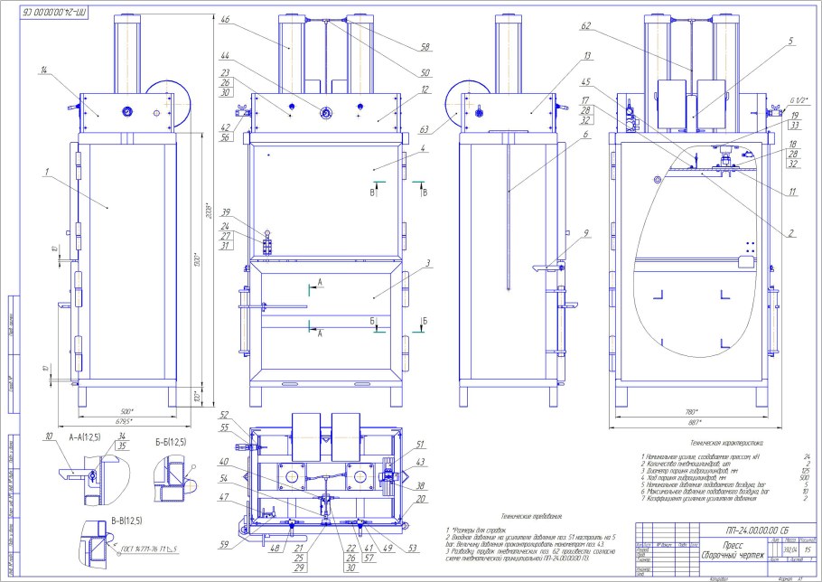
Чертеж пресса для макулатуры 30тн
Чипсонарезной станок для покрышек патенты
Ручной гидравлический насос НРГ-7010 схема
Чертежи самоделок для гаража
Пресс для гаража из гидравлического домкрата чертеж
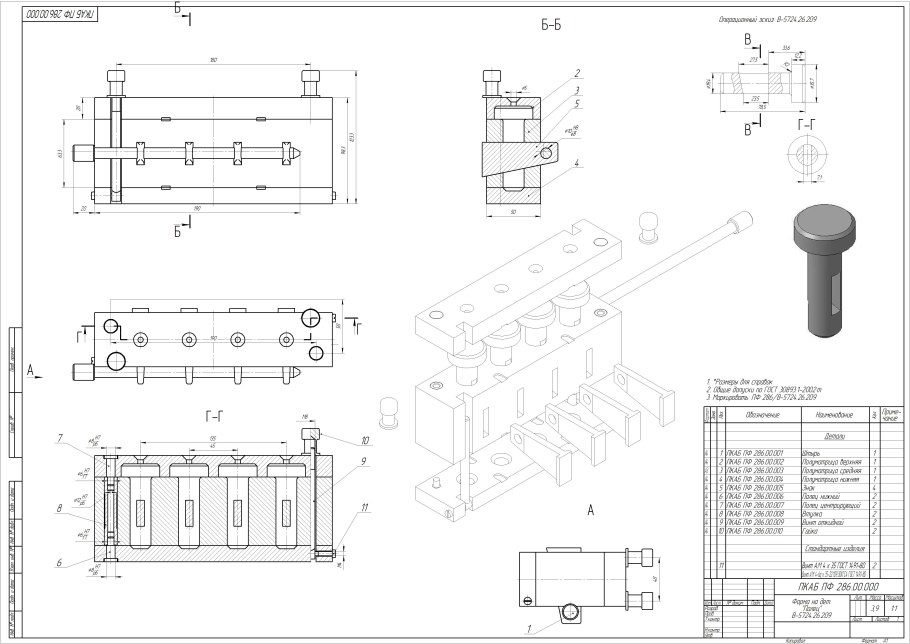
Пресс-форма для ЛВМ чертеж
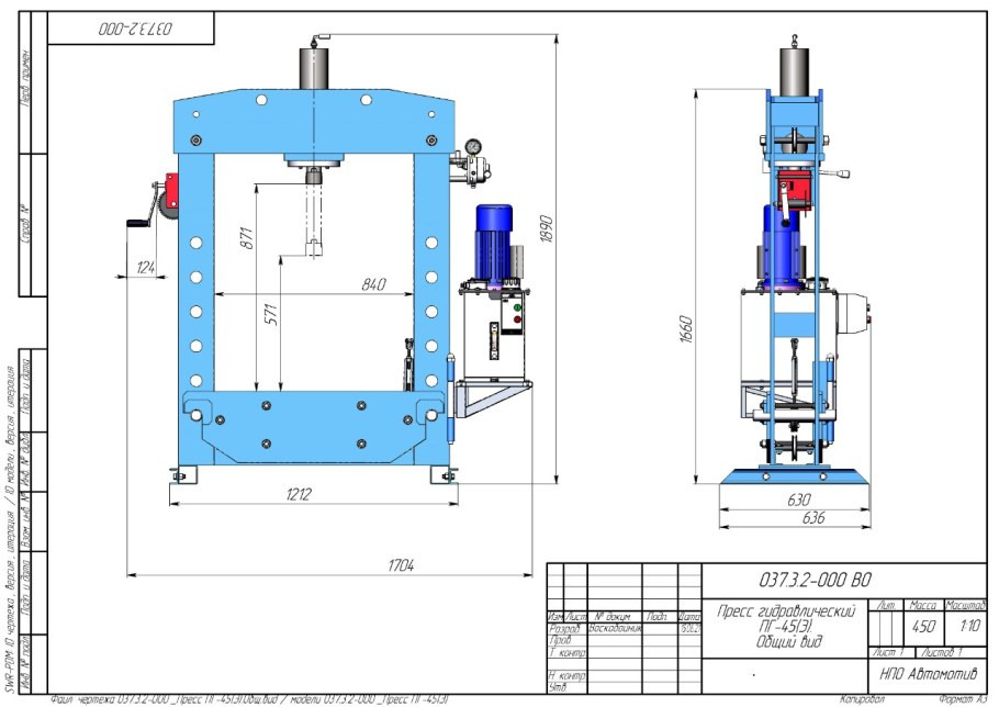
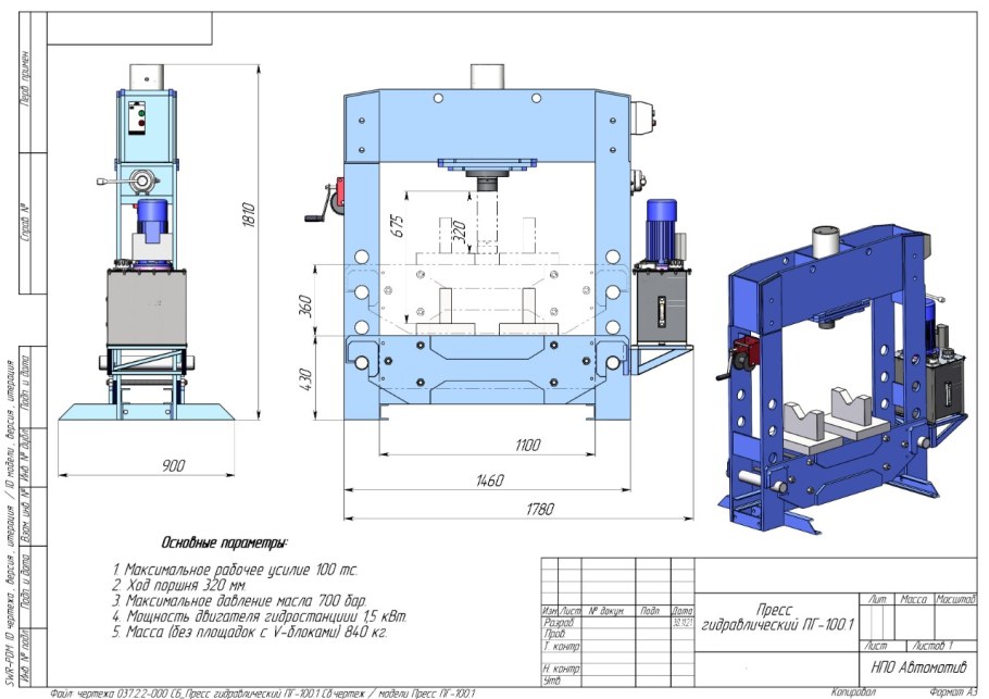
Пресс гидравлический ПГ-100
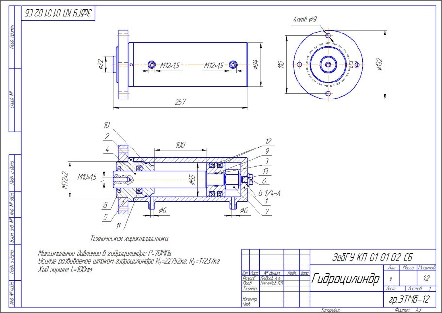
Пресс гидравлический 10т hj0802
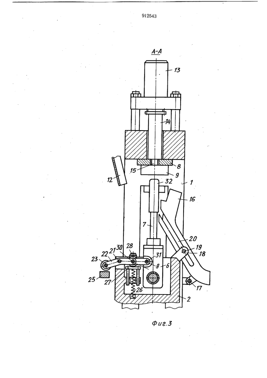
Патент пресс для запрессовки колесных пар
Пресс гидравлический своими руками с площадкой
Гидравлический пресс для правки валов рихтовки валов phccr100
Сделай сам цигулка
Гидропресс 882 64 чертеж
Гидравлический пресс р-338 чертеж
Самодельный Гидропресс из домкрата чертежи
Пресс гидравлический ПГ-60
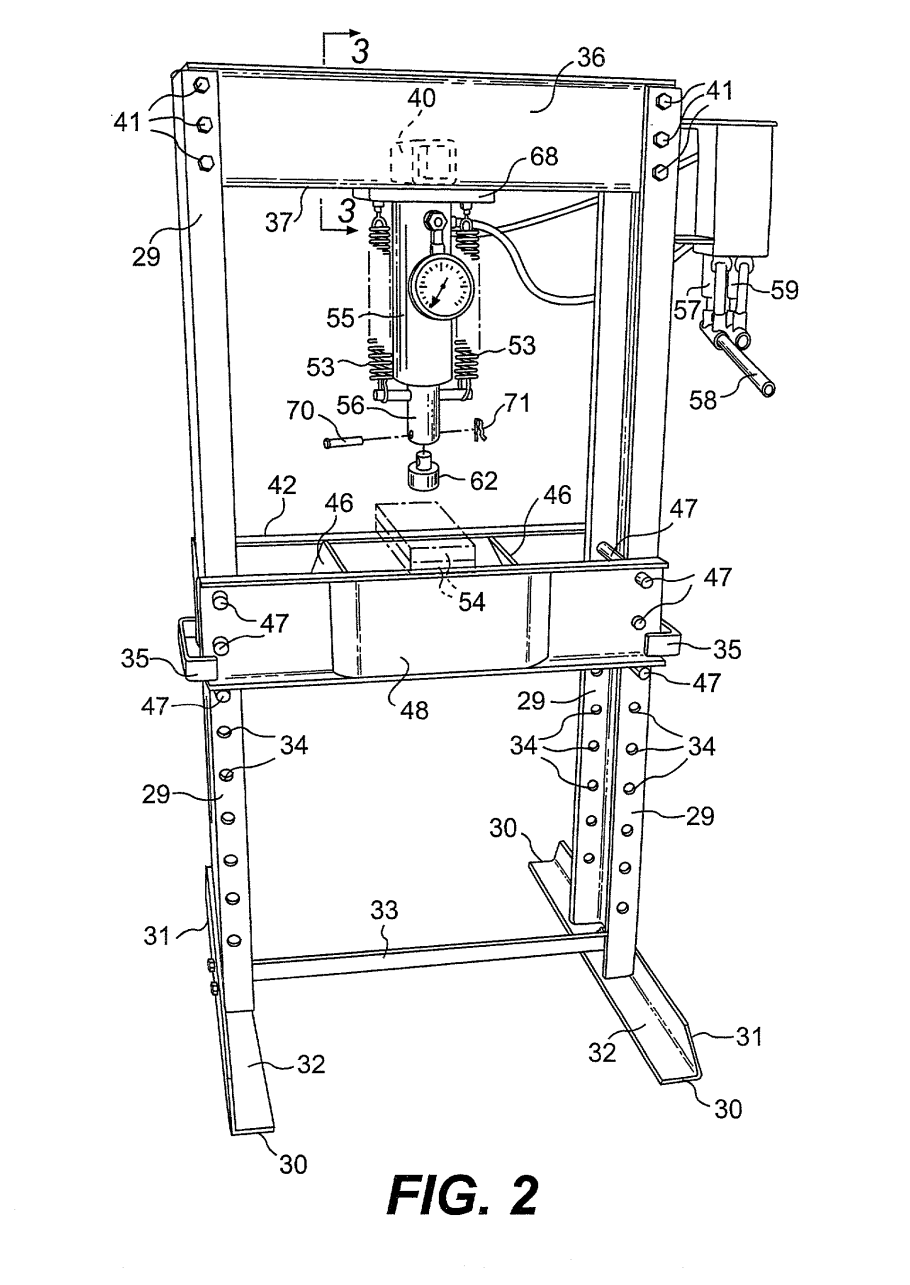
KRAFTWELL krwpr20f

Чертеж гаражного пресса
Подъемник подкатной ПП-3 чертеж
Пневмопресс чертёж
Чертёж станка гидравлический листогиб
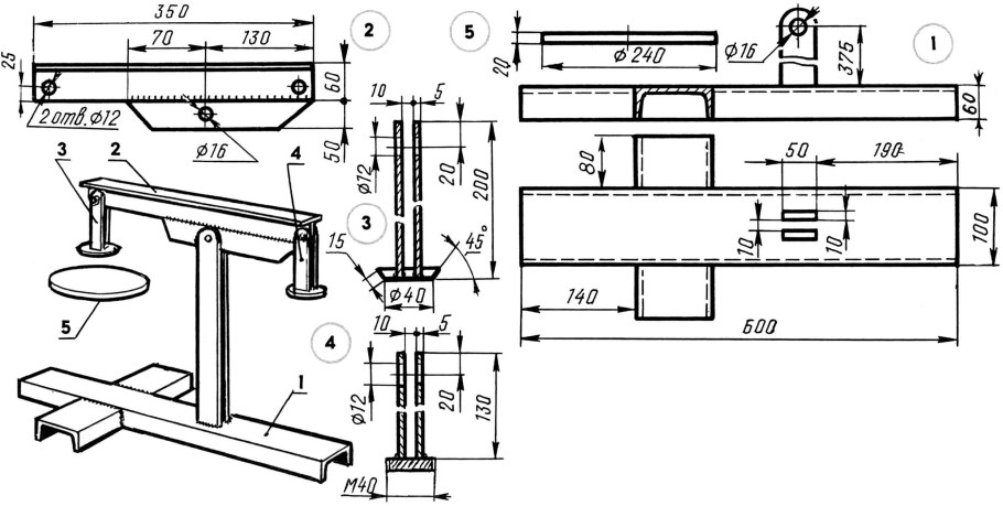
Пресс для отжима сока домкратный своими руками чертежи и Размеры
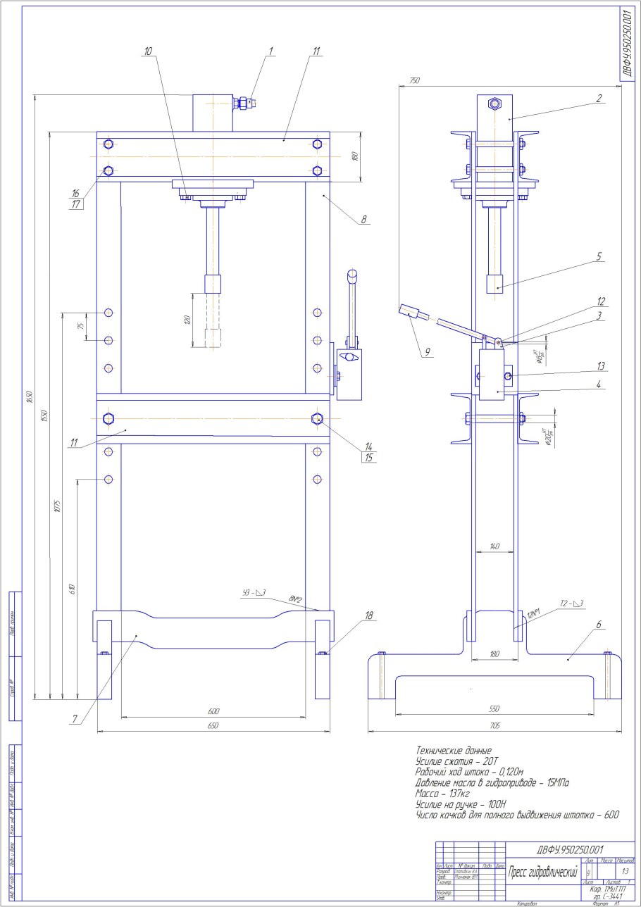
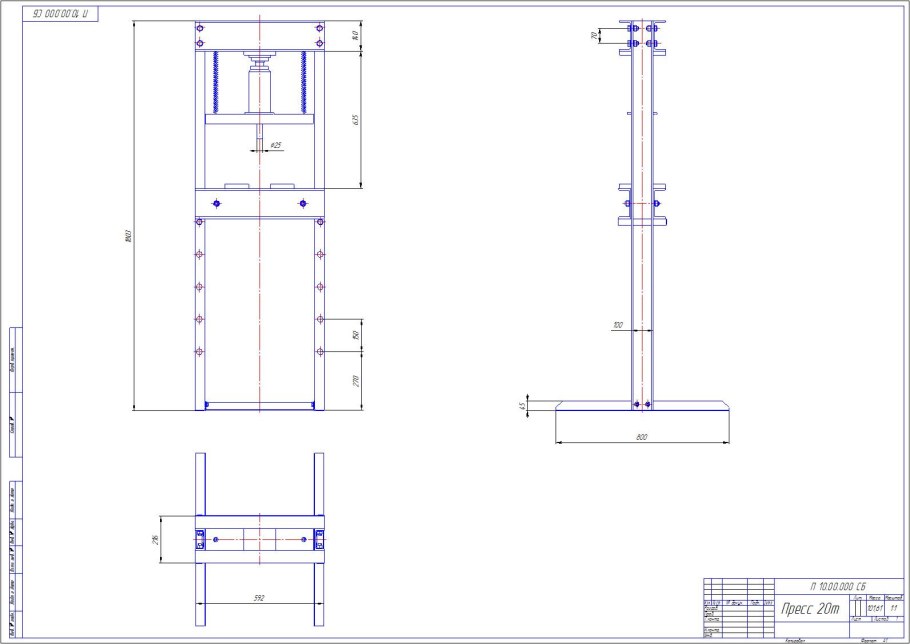
Пресс 20т гидравлический чертеж
Пресс механический винтовой для ПЭТ С электроприводом чертёж
Приспособление для опрессовки гильз с чертежом
Пресс винтовой механический схема
Чертеж пресса гидравлического из домкрата своими руками

Пресс настольный NORDBERG n3515t
Пресс гидравлический 2000тс чертеж
Домкрат гидравлический 10т чертёж
Чертежи станка для изготовления топливных брикетов
Чертёж приспособления для разбортовки колеса
Соковыжималка фермер СВР-01м
Гидравлический пресс для топливных брикетов своими руками чертежи
“Пресс гидравлический р337 (2135м1)” паспорт
Пресс для гаража чертеж изготовления гидравлический
Пресс гидравлический 10-12 т напольный ty12002
Поворотный пресс чертеж
Похожие фото
↑