Стол для столярных работ своими руками чертежи (72 фото)
Верстак тележка трансформер чертежи
Столярный верстак чертеж отверстия
Технологическая схема сборки столярного стула
Раскладной верстак-козлы Solidhorse Factory чертежи
Приспособление для фрезерования пазов ручным фрезером по дереву
Чертеж верстак столярный из фанеры
Верстак столярный трансформер чертежи
Высота слесарного верстака для работы стоя
Деревянная скамья своими руками чертежи в баню
Циркулярный стол Макита 2704 чертежи
Чертеж лекала для столярных изделий
Складной ящик для инструментов своими руками из фанеры чертежи
Самодельные столярные тиски чертеж
Чертёж универсального столярного верстака
Чертеж деревянного верстака
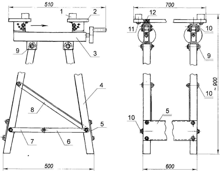
Чертежи Козлов для столярки
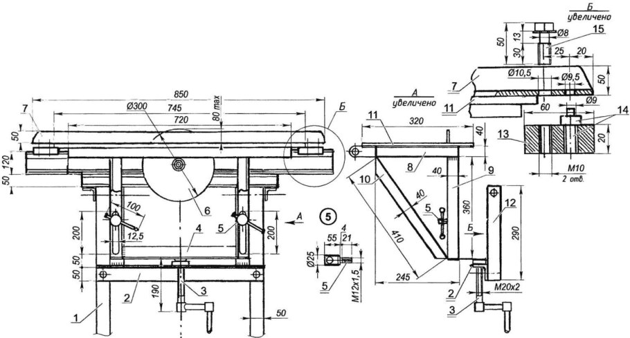
Верстак столярный 850х1700х500мм
Верстак для строгания досок упор для доски
Высота столярного верстака для работы
Схема для изготовления стула
Обеденный стол из массива дерева своими руками чертежи
Столярный верстак чертеж
Из каких частей состоит столярный верстак

Японский верстак чертежи
Слесарный верстак с регулируемыми по высоте тисками
Тиски Моксона чертеж
Складной верстак из профильной трубы своими руками чертежи
Верстак столярный из профильной трубы
Раскладной верстак-козлы Solidhorse Factory чертежи
Ящик плотника чертеж
Складной столик овальный своими руками
Чертежи верстака для плотника
Табурет стремянка модель м91.13 чертеж
Из каких частей состоит крышка столярного верстака
Столярный верстак чертеж габариты
Столярный верстак чертеж
Основные элементы столярного верстака
Верстак для ювелиров размер чертеж
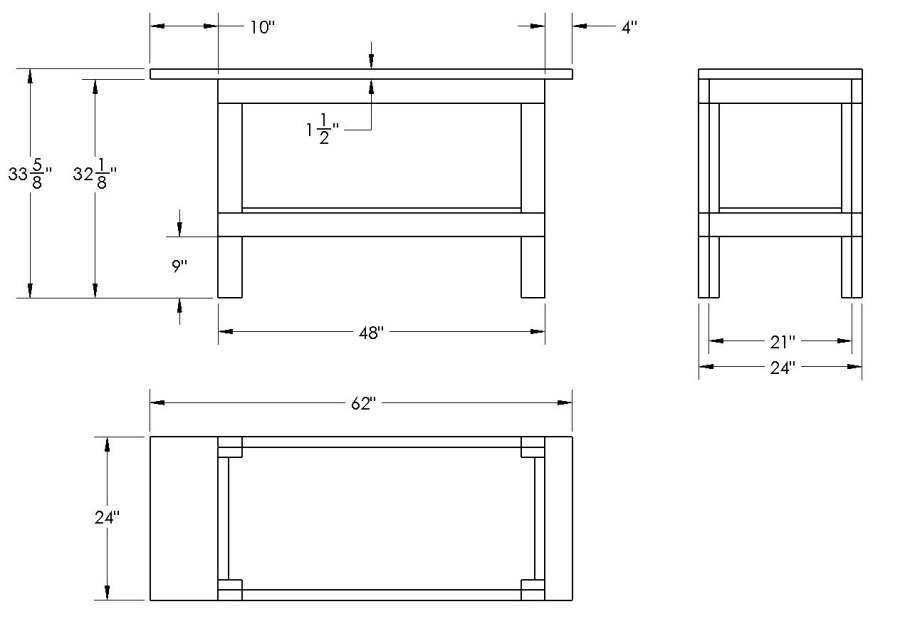
Столярный верстак чертежи с размерами
Стол для торцовки своими руками с чертежами
Bench_Dog вебкамщица
Столярный верстак Размеры стандарты
Складной столярный верстак чертеж

Чертёж верстака слесарного из металла с размерами
Устройство столярного верстака чертеж
Верстак столярный своими руками чертежи
Мобильный верстак MFTC чертежи
Flip Top верстак чертежи
Японский верстак чертежи
Столярный верстак чертеж габариты
Чертежи слесарного верстака для гаража
Верстак столярный деревянный чертеж с размерами
Стол для торцовочной пилы своими руками с чертежами
Маятниковый торцовочный станок чертеж
Козлы столярные складные чертежи
Тиски столярные для верстака своими руками чертежи с размерами
Столярный верстак чертежи 150/150 мм
Столярный верстак чертеж
Чертежи Козлов для столярки
Чертежи складных козел
Царга стола Table
Размеры столярного верстака
Столярный верстак чертеж
Столярный верстак чертеж габариты
Верстак Исаева чертежи складной
Верстак сборочный ос0012095
Столярный верстак чертеж
Похожие фото
↑