Система складывания дивана (75 фото)

Механизм трансформации еврокнижка
Механизм трансформации еврокнижка

Механизм клик кляк 5001
Механизм клик кляк 5001

Механизм трансформации еврокнижка схема
Механизм трансформации еврокнижка схема

Механизм книжка 106
Механизм книжка 106

Механизм трансформации Отелло н18 с пруж матрасом 18 см
Механизм трансформации Отелло н18 с пруж матрасом 18 см

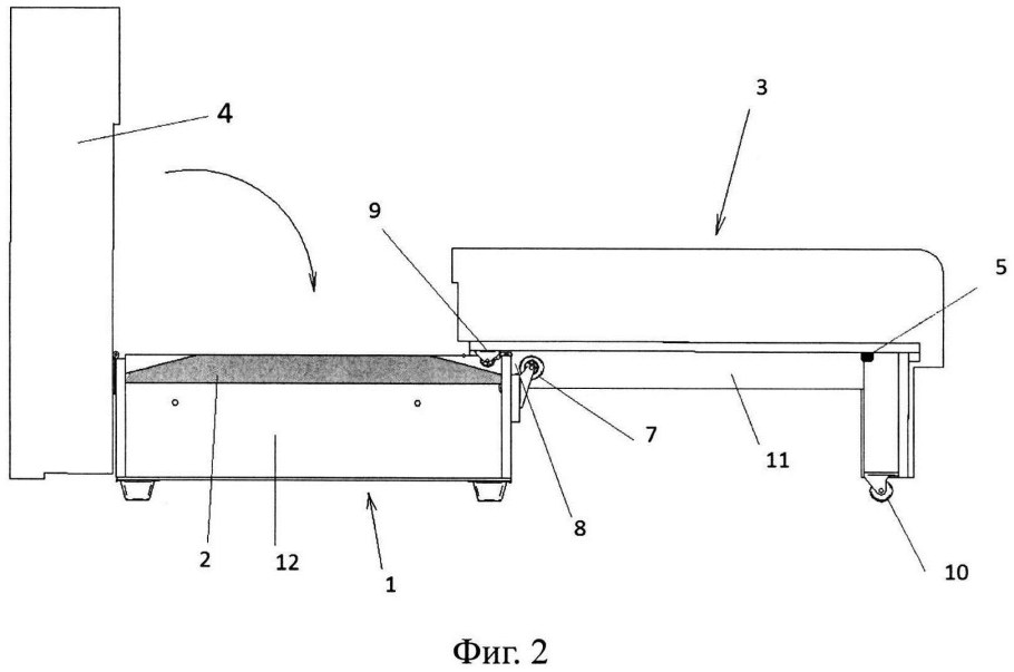
Диван трансформации клик-кляк схема
Диван трансформации клик-кляк схема

Механизм трансформации 444.00.000
Механизм трансформации 444.00.000

Пружина для механизма дивана аккордеон схема сборки
Пружина для механизма дивана аккордеон схема сборки

Sedaflex американская раскладушка 150×200
Sedaflex американская раскладушка 150×200

Механизм раскладывания еврокнижка схема
Механизм раскладывания еврокнижка схема

Механизмы раскладывания диванов аккордеон
Механизмы раскладывания диванов аккордеон

Механизмы трансформации диванов
Механизмы трансформации диванов

Механизм трансформации аккордеон схема сборки
Механизм трансформации аккордеон схема сборки

Седафлекс 10м ВИА феррата
Седафлекс 10м ВИА феррата

Диван еврокнижка схема раскладывания
Диван еврокнижка схема раскладывания

Механизм раскладывания пантограф
Механизм раскладывания пантограф

Механизм МТД 99 С электроприводом для HODRY
Механизм МТД 99 С электроприводом для HODRY

Диван еврокнижка схема раскладывания
Диван еврокнижка схема раскладывания

Диван еврокнижка чертежи каркаса
Диван еврокнижка чертежи каркаса

Механизм раскладки французская раскладушка схема
Механизм раскладки французская раскладушка схема

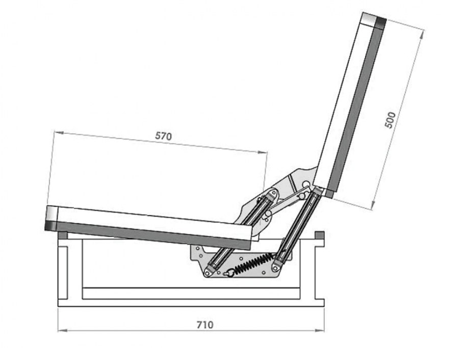
Дельфин механизм трансформации дивана
Дельфин механизм трансформации дивана

Диван книжка механизм складывания ФРМЗ 217 схема крепления
Диван книжка механизм складывания ФРМЗ 217 схема крепления

Механизмы раскладывания диванов Дельфин
Механизмы раскладывания диванов Дельфин

Система трансформации еврокнижка
Система трансформации еврокнижка

Механизм фрмз001 для дивана
Механизм фрмз001 для дивана

Механизм раскладывания дивана американская раскладушка
Механизм раскладывания дивана американская раскладушка

Крепеж для дивана книжка
Крепеж для дивана книжка

Механизм раскладывания дивана французская раскладушка
Механизм раскладывания дивана французская раскладушка

Схема сборки углового дивана Атланта
Схема сборки углового дивана Атланта

Механизмы раскладывания диванов Дельфин
Механизмы раскладывания диванов Дельфин

Механизмы раскладывания диванов аккордеон
Механизмы раскладывания диванов аккордеон

Диван Локо 150-s-пл5-тsv47
Диван Локо 150-s-пл5-тsv47

Механизм трансформации еврокнижка схема
Механизм трансформации еврокнижка схема

Диван типы механизмов раскладывания
Диван типы механизмов раскладывания

ФРМЗ 217 механизм
ФРМЗ 217 механизм

Механизмы раскладки диванов
Механизмы раскладки диванов

Диван-книжка механизм раскладывания
Диван-книжка механизм раскладывания

Механизм складывания дивана аккордеон схема
Механизм складывания дивана аккордеон схема

Механизм трансформации ФРМЗ 001
Механизм трансформации ФРМЗ 001

Американская раскладушка "седафлекс 185"
Американская раскладушка "седафлекс 185"

Схема раскладывания дивана аккордеон
Схема раскладывания дивана аккордеон

Клик-кляк механизм раскладки
Клик-кляк механизм раскладки

МТ-3-366 механизм трансформации замок
МТ-3-366 механизм трансформации замок

Схема сборки механизм трансформации АТС 180
Схема сборки механизм трансформации АТС 180

Механизм трансформации металлокаркасный
Механизм трансформации металлокаркасный

Механизм дивана еврокнижка схема
Механизм дивана еврокнижка схема

Механизмы раскладки диванов
Механизмы раскладки диванов

Выкатной механизм дивана схема ламелей
Выкатной механизм дивана схема ламелей

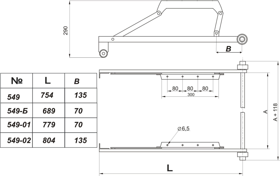
Механизм трансформации Венеция 549
Механизм трансформации Венеция 549

Схема сборки прямого дивана Атлант
Схема сборки прямого дивана Атлант

Механизмы раскладывания диванов Дельфин
Механизмы раскладывания диванов Дельфин

Чертеж механизма трансформации клик-кляк
Чертеж механизма трансформации клик-кляк

Механизм трансформации клик-кляк
Механизм трансформации клик-кляк

Какие бывают механизмы раскладывания диванов
Какие бывают механизмы раскладывания диванов

Диван кровать механизм
Диван кровать механизм

Механизмы раскладывания диванов аккордеон
Механизмы раскладывания диванов аккордеон

Дельфин механизм трансформации дивана
Дельфин механизм трансформации дивана

Самые удобные диваны для сна
Самые удобные диваны для сна

Диван выкатной Калипсо
Диван выкатной Калипсо

Угловой диван 200 см
Угловой диван 200 см

Диван аккордеон Relax Рио 1.4 бежевый
Диван аккордеон Relax Рио 1.4 бежевый

Механизм раскладывания Серджио
Механизм раскладывания Серджио

Механизм трансформации для дивана книжка замок Росса 2
Механизм трансформации для дивана книжка замок Росса 2

Механизм раскладки Дельфин схема
Механизм раскладки Дельфин схема

Диван Калинка механизм раскладывания
Диван Калинка механизм раскладывания

Механизм подъемный пружинный МП-2771
Механизм подъемный пружинный МП-2771

Диван система Дайтона итальянская раскладушка
Диван система Дайтона итальянская раскладушка

Отелло механизм трансформации
Отелло механизм трансформации

Угловой диван Мюнхен хофф
Угловой диван Мюнхен хофф

Механизм раскладки дивана Дельфин
Механизм раскладки дивана Дельфин

Механизм раскладки дивана аккордеон
Механизм раскладки дивана аккордеон

Механизмы раскладывания диванов аккордеон
Механизмы раскладывания диванов аккордеон

Еврокнижка механизм раскладки аккордеон
Еврокнижка механизм раскладки аккордеон

Механизм раскладки Дельфин
Механизм раскладки Дельфин

Диван-аккордеон «аккордеон 9909»
Диван-аккордеон «аккордеон 9909»

  • Просмотров: 838
  • Добавлено: 13 март
Категории: ---
Комментарии (0)
Кликните на изображение чтобы обновить код, если он неразборчив
Похожие фото