Маркиза для кемпера своими руками чертежи (66 фото)
Iveco Daily 4x4 габариты
Туристическая кухня "Chuck Box" чертеж
Автодом Фиат Дукато схема
Крепление маркизы Fiamma
Маркиза для Camper
Маркиза веерная автомобильная чертеж
CLC Teardrop Camper чертежи
Лада Нива автодом
Палатка на заднюю дверь VW t5
Маркиза g500 схема кронштейна
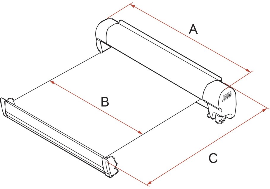
Маркиза Размеры
VW t4 Camper чертежи
ГАЗ 2705 высота кузова
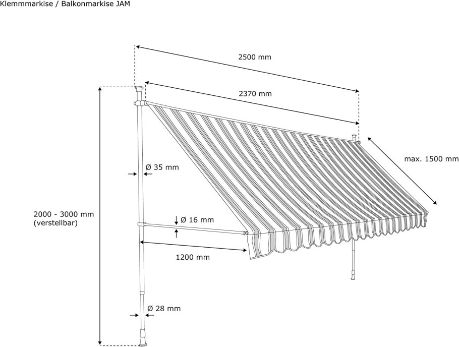
Маркиза веерная левая 2,5 м схема
Пергола с электроприводом чертеж
Кран кемпера схема установки
Прицеп автодом габариты
Палатка ап-1 чертежи
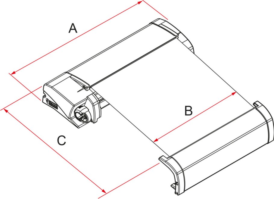
Fiamma f80s

Маркиза g500 схема кронштейна
Чертеж прицеп МЗСА 817702
Маркиза веерная автомобильная
Тент - маркиза BUNDUAWN 360 чертежи
Тент - маркиза BUNDUAWN 360 чертежи
Чертеж УАЗ автодом
Велоприцеп Велодом
Крепление маркизы на рейлинги
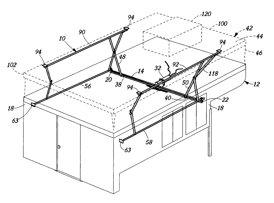
Подъемный механизм для крыши кемпера
Автомобильный тент-маркиза use-Roof
Тент KSL Awning 5m x 4
Прицеп автодом габариты
Боковые панели для маркизы Fiamma f45
Откидная корзинная маркиза чертеж
Палатка м-30 сборка схема
Тент маркиза на Мерседес Вито
Чертежи прицепа кемпера капля (Teardrop)
Складные маркизы для автодома своими руками чертежи
Внедорожный прицеп-капля чертежи
Маркиза поворотная для авто
Локтевая маркиза чертеж
Палатка на крышу автомобиля чертежи
Чертеж рамы прицепа кемпера
Маркиза Fiamma f45s
Габариты автодома прицепа
Вынос маркизы максимальный
RS-660 маркиза схема
Механизм для корзинной маркизы
Маркиза автомобильная use-Roof
Палатка для кемпера схема сборки
Чертеж маркизы
Маркиза веерная Ort- fox2500 со стенками
Тент - маркиза BUNDUAWN 360 чертежи
Кемпер для пикапа схема
Кемпер бокс чертежи
Чертежи маркизы для авто
Прицеп Teardrop чертежи
Fiamma f 40 van Markise
Прицеп автодом габариты
Чертеж прицепа МЗСА 3 метра
Чертёж прицепа для легкового автомобиля без рессор
Багажник для лодки ПВХ на крышу автомобиля своими руками чертежи
Прицеп капля Teardrop
Навес на крышу автомобиля
Чертеж автодома Fiat Ducato
Похожие фото
↑