Механизм трансформации для дивана атланта (67 фото)

Механизм трансформации «Дельфин 413»
Механизм трансформации «Дельфин 413»

Угловой диван Sofa Атланта БС
Угловой диван Sofa Атланта БС

Мягкий угол Глория 39 Элегия
Мягкий угол Глория 39 Элегия

Диван Атланта d2 Шнайдер Мобель
Диван Атланта d2 Шнайдер Мобель

Диван Атланта экокожа белый
Диван Атланта экокожа белый

Механизм выкатной для дивана Камелот
Механизм выкатной для дивана Камелот

МТ-3-366 механизм трансформации замок
МТ-3-366 механизм трансформации замок

Диван Атланта Люкс рогожка Malmo
Диван Атланта Люкс рогожка Malmo

Механизм трансформации Дельфин
Механизм трансформации Дельфин

Диван Атланта прямой еврокнижка с пружинным блоком
Диван Атланта прямой еврокнижка с пружинным блоком

Механизм трансформации 431
Механизм трансформации 431

Механизмы раскладывания диванов Дельфин
Механизмы раскладывания диванов Дельфин

Диван угловой Дельфин Атланта 066
Диван угловой Дельфин Атланта 066

Угловой диван Атланта Люкс рогожка Malmo серый
Угловой диван Атланта Люкс рогожка Malmo серый

Седафлекс механизм трансформации
Седафлекс механизм трансформации

Диваны Атланта от производителя
Диваны Атланта от производителя

Атланта - 2 155х90 СП. Место 195х135
Атланта - 2 155х90 СП. Место 195х135

Механизмы раскладывания диванов Дельфин
Механизмы раскладывания диванов Дельфин

Диван угловой смарт Беллано
Диван угловой смарт Беллано

Диван порту хофф
Диван порту хофф

Угловой диван Атлант схема сборки
Угловой диван Атлант схема сборки

Диван Атлант угловой габариты
Диван Атлант угловой габариты


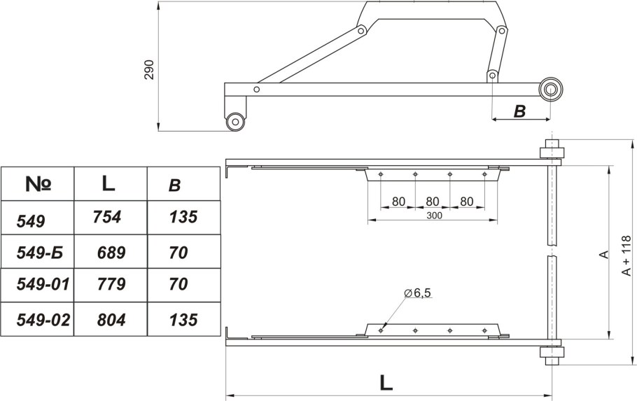
Механизм трансформации Дельфин 549
Механизм трансформации Дельфин 549

Диван угловой "Атланта Соло Гранд"
Диван угловой "Атланта Соло Гранд"

Угловой диван кровать Торонто схема сборки
Угловой диван кровать Торонто схема сборки



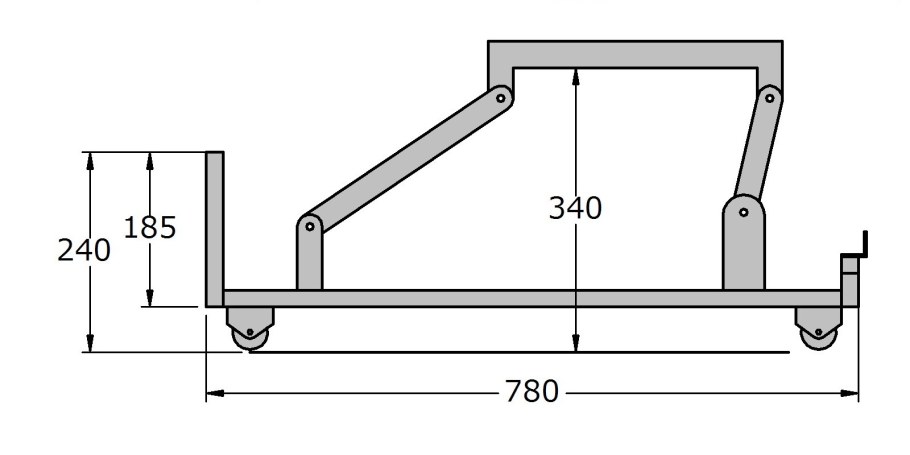
Механизмы раскладывания диванов пантограф
Механизмы раскладывания диванов пантограф

Механизм трансформации Дельфин малый 482
Механизм трансформации Дельфин малый 482

Диван Браун угловой Атланта
Диван Браун угловой Атланта

Механизм трансформации Дельфин 549
Механизм трансформации Дельфин 549

Угловой диван Атлант сборка
Угловой диван Атлант сборка

Диван Атланта-2 Лайт
Диван Атланта-2 Лайт

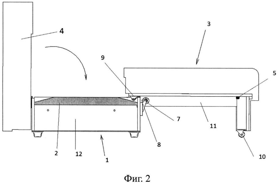
Механизм трансформации у угловых диванов
Механизм трансформации у угловых диванов

Выдвижной механизм для дивана
Выдвижной механизм для дивана

Диван гибрид
Диван гибрид

Диван угловой "Атланта Соло Гранд"
Диван угловой "Атланта Соло Гранд"

Конструкция дивана еврокнижка
Конструкция дивана еврокнижка

Механизм раскладывания еврокнижка схема
Механизм раскладывания еврокнижка схема

Диван кровать Атлант 2
Диван кровать Атлант 2

Диван угловой "Атланта Соло Гранд"
Диван угловой "Атланта Соло Гранд"

Диван прямой Мейсон Атлант 2
Диван прямой Мейсон Атлант 2

Еврософа механизм трансформации дивана
Еврософа механизм трансформации дивана

Угловой диван Атланта
Угловой диван Атланта

Диван 066 Атланта моон-ТРЕЙД
Диван 066 Атланта моон-ТРЕЙД


Диван Loko Аскона
Диван Loko Аскона

Диван Берг 4р Home
Диван Берг 4р Home

Атланта — диван еврокнижка
Атланта — диван еврокнижка

Диван Атлант фабрика Регина
Диван Атлант фабрика Регина

Диван Атланта
Диван Атланта

Диван Атланта еврокнижка схема сборки
Диван Атланта еврокнижка схема сборки

Диван Атлант Добрыня
Диван Атлант Добрыня

Диван угловой Веспер Maxx 232
Диван угловой Веспер Maxx 232

Диван угловой Атланта эко беж со столом Дельфин
Диван угловой Атланта эко беж со столом Дельфин

Механизм трансформации Дельфин 68900а00
Механизм трансформации Дельфин 68900а00

Диван Атланта прямой Дельфин купить
Диван Атланта прямой Дельфин купить

Диван Атлант механизм Дельфин схема
Диван Атлант механизм Дельфин схема

Диван Mebelico Атлант Корфу 02
Диван Mebelico Атлант Корфу 02

Угловой диван Атланта кожзам
Угловой диван Атланта кожзам

Диван Атлант экокожа черный
Диван Атлант экокожа черный

Диван прямой пантограф (тик-так) Moon 107
Диван прямой пантограф (тик-так) Moon 107

Угловой диван Атланта экокожа бежевый
Угловой диван Атланта экокожа бежевый

Диван Атланта Люкс рогожка Malmo
Диван Атланта Люкс рогожка Malmo

Диван Moon trade Даллас 018
Диван Moon trade Даллас 018

Атланта угловой хомеме серый
Атланта угловой хомеме серый

  • Просмотров: 672
  • Добавлено: 01 апрель
Категории: ---
Комментарии (0)
Кликните на изображение чтобы обновить код, если он неразборчив
Похожие фото