Диван кровать сборка (73 фото)
Инструкция по сбору кровати двухъярусная с диваном Боровичи
Диван аккордеон Инфинити схема
Угловой диван Атлант схема сборки
Схема сборки углового дивана Монако
Диван Атланта еврокнижка схема сборки
Кресло-кровать ЛИКСЕЛЕ икеа схема сборки
Диван Мирон выкатной схема сборки
Диван кровать акардеон чертёж
Диван-кровать DREAMART Уэльс
Диван еврокнижка чертежи каркаса
Схема сборки кровати с подъемным механизмом 1600х2000 Парма Нео
Диван выкатной м23
Угловой диван-кровать Мансберг
Диван кровать икеа БЕДИНГЕ схема сборки
Диван Траумберг
Кресло кровать аккордеон схема сборки
Сборка дивана
Сборка дивана
Двухъярусная кровать карамель 75 сборка
Сборщик мягкой мебели
Диван Корсика Риваль бельевой ящик
Угловой диван Атлант схема сборки
МТ-3-366 механизм трансформации замок
Схема сборки прямого дивана Атлант
Сборка дивана Ascona
Сборка дивана клик-кляк инструкция
Диван кровать икеа БЕДИНГЕ схема сборки
Схема сборки дивана аккордеон
Чертеж углового дивана с размерами и деталировкой
Диван Аскона Вега (Vega)
Кровать Нэнси с подъемным механизмом 160х200 схема сборки
Схема сборки дивана икеа БЕДИНГЕ
Механизм трансформации аккордеон схема сборки
Диван Лидер 3 схема сборки
Инструкция сборки"диван-кровать аккордеон 2"
Схема сборки кровати икеа БЕДИНГЕ
Разобранный диван
Механизмы раскладывания диванов аккордеон
Диван Бруно механизм пантограф
Диван еврокнижка чертежи каркаса
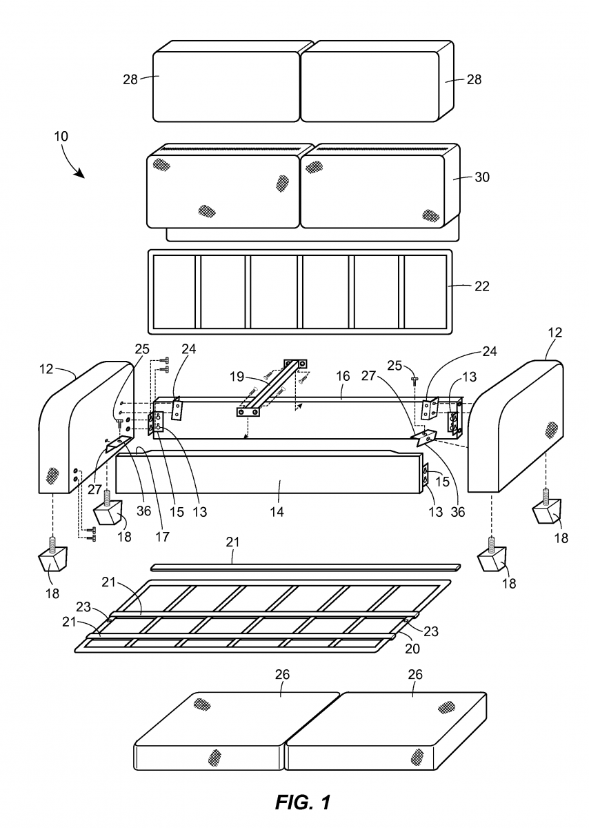
Схема сборки двухъярусной кровати с диваном
Пружинный блок змейка в диване
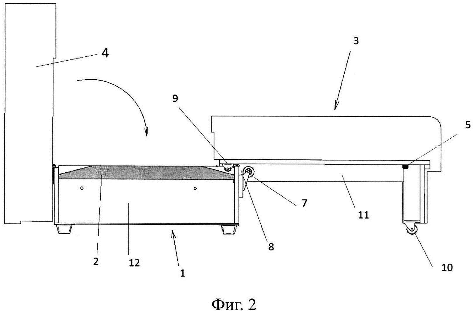
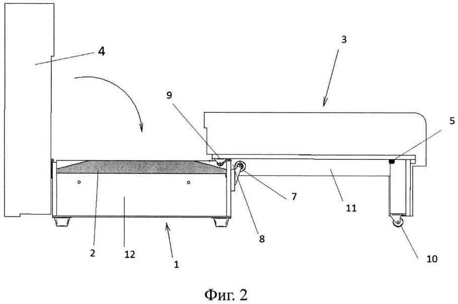
Схема сборки выкатного дивана
Кровать Boss Mini
Кровать с ящиком Паскаль БТС
Механизм трансформации металлокаркасный
Боровичи мебель двухъярусная кровать с диваном инструкция по сборке
Диван кровать Казачок z8 схема сборки
Схема сборки двухъярусной кровати с диваном
Угловой диван Атланта правый угол Дельфин
Диван Стефани Сокруз габариты
Еврокнижка трансформер пружинный блок
Сборка кровати кт01/900
Схема сборки механизм трансформации АТС 180
Диван Гармония 2 выкатной габариты
Схема сборки механизм трансформации АТС 180
Диван выкатной Калипсо
Кресло ЛИКСЕЛЕ схема сборки
Кровать ХЕМНЭС икеа сборка
Раскладной диван-кровать аккордеон схема
Седафлекс 10 м механизм трансформации
Схема сборки дивана аккордеон
Диван кровать икеа БЕДИНГЕ схема сборки

Диван-кровать Монблан угловой Велютто 32 схема сборки
Схема сборки дивана еврокнижка
Схема сборки углового дивана Атланта
Диван кровать дуэт 2 выкатная книжка схема сборки
Двухъярусная кровать с диваном Боровичи схема сборки
Кровать Люкс много мебели схема сборки
СМК 125 диван-кровать 3ек схема сборки
Механизм выкатного дивана аккордеон схема
Схема сборки кровать диван икеа
Похожие фото
↑