Бельчатник своими руками чертежи (61 фото)
Чертеж скворечника с односкатной крышей
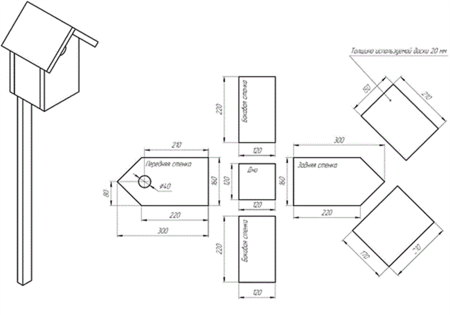
Скворечник бар чертеж
Размеры скворечника для Скворцов чертеж из доски
Размеры скворечника для Скворцов чертеж
Скворечник-дуплянка для Скворцов
Размеры скворечника и синичника
Размеры скворечника для Скворцов
Размеры скворечника для Скворцов чертеж
Размер бельчатника
Размер синичника чертеж Размеры
Скворечник план постройки
Домик для горихвостки Размеры
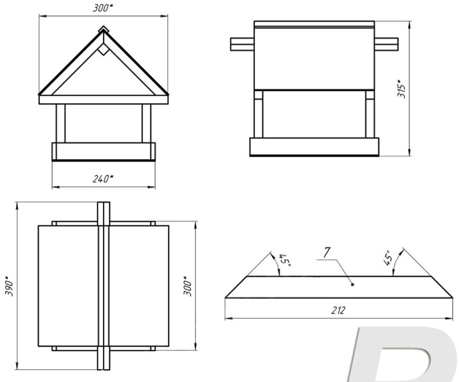
Чертеж кормушки вид сбоку сверху спереди
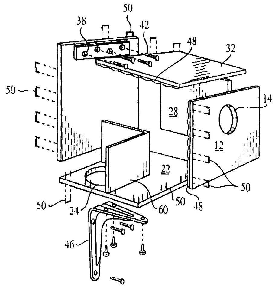
Кормушка для птиц чертеж
Скворечник дуплянка чертеж
Чертежи скворечника и синичника
Чертёж скворечника с размерами из дерева
Дуплянка для Гоголя

Кормушка для белок с банкой чертежи
Синичник чертеж дом для птиц
Скворечник из картона чертежи и Размеры
Чертежи дуплянки для белок
Ширина 10 рамочного улья Дадан чертеж
Вольер для собаки чертеж с размерами
Скворечник чертеж и Размеры
Чертёж кормушки для птиц из дерева с размерами
Размеры скворечника для птиц
Габариты скворечника для Скворцов
Габариты скворечника для Скворцов
Самодельная циркулярка чертежи
Домик для горихвостки чертеж
Синичник чертеж
Размеры скворечника для Скворцов чертеж
Домик для синички чертеж и Размеры

Скворечник Размеры чертёж односкатный
Кормушка для птиц 5 класс технология чертеж
Как сделать скворечник своими руками
Кормушка резная из фанеры чертежи
Чертеж скворечника вид сверху сбоку спереди
Игровой комплекс для Мейн куна чертеж
Чертеж домика скворечника технология
Кормушка для птиц своими руками из дерева чертежи
Чертеж деревянного скворечника
Кормушка для птиц из фанеры чертежи
Скворечник для Скворцов
Домик для белок чертежи
Скворечник Размеры чертёж односкатный
Как построить скворечник Размеры чертеж
Кормушка для птиц своими руками из фанеры чертежи с размерами
Схема собачьей будки своими руками с размерами

Скворечник для Воробьев размер
Скворечник домик чертеж с размерами для Скворцов
Каркасный сарай 3х3 чертеж
Кормушка для птиц чертеж
Скворечник для Скворцов чертеж
Трибуна-скамейка Hercules тс2 6393 чертежи
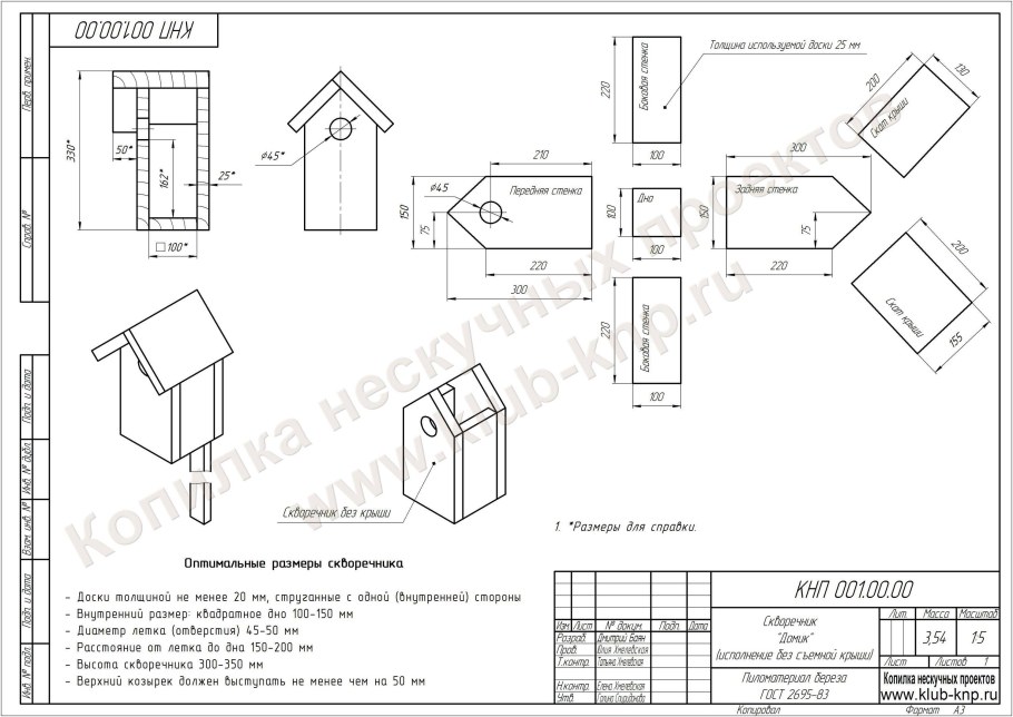
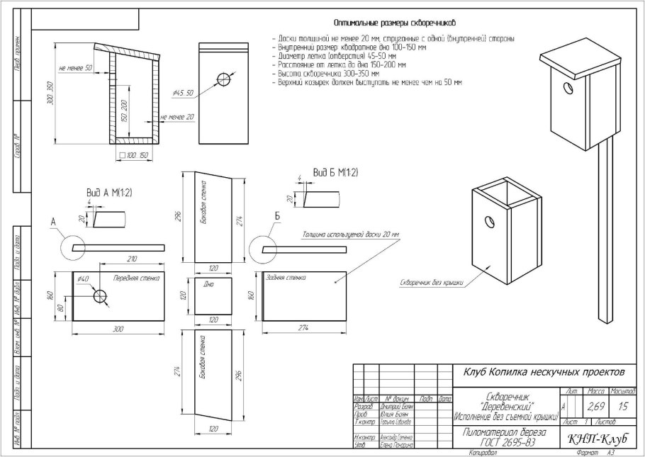
Оптимальные Размеры скворечника для Скворцов чертеж и Размеры
Деревянная кормушка для птиц своими руками чертежи с размерами
Размер бельчатника
BDM стол своими руками чертежи
Схема кормушки для птиц
Похожие фото
↑